Aus RN-Wissen.de
Version vom 22. November 2005, 14:21 Uhr von PicNick (Diskussion | Beiträge) (AtMega32 Architecure Overview)

(Unterschied) ← Nächstältere Version | Aktuelle Version (Unterschied) | Nächstjüngere Version → (Unterschied)
Wechseln zu: Navigation, Suche
Rasenmaehroboter Test

Originaldatei(520 × 732 Pixel, Dateigröße: 66 KB, MIME-Typ: image/jpeg)

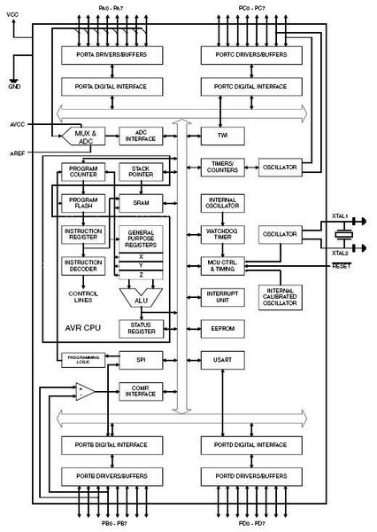
AtMega32 Architecure Overview

Dateiversionen

Klicke auf einen Zeitpunkt, um diese Version zu laden.

Version vomVorschaubildMaßeBenutzerKommentar
aktuell14:21, 22. Nov. 2005Vorschaubild der Version vom 22. November 2005, 14:21 Uhr520 × 732 (66 KB)PicNick (Diskussion | Beiträge)AtMega32 Architecure Overview
  • Du kannst diese Datei nicht überschreiben.

Die folgende Seite verwendet diese Datei:


LiFePO4 Speicher Test